この画像を大きなサイズで見る学会では、様々な変わった症例が続々と報告されている。アメリカ・ニューヨークの病院医師は、呼吸困難を訴えて来院した男性を診断したところ、鼻の内部に歯が生えているのを発見した。
通常歯は口の中に生えるものだ。だが時として鼻の中にも生えることもあるようだ。
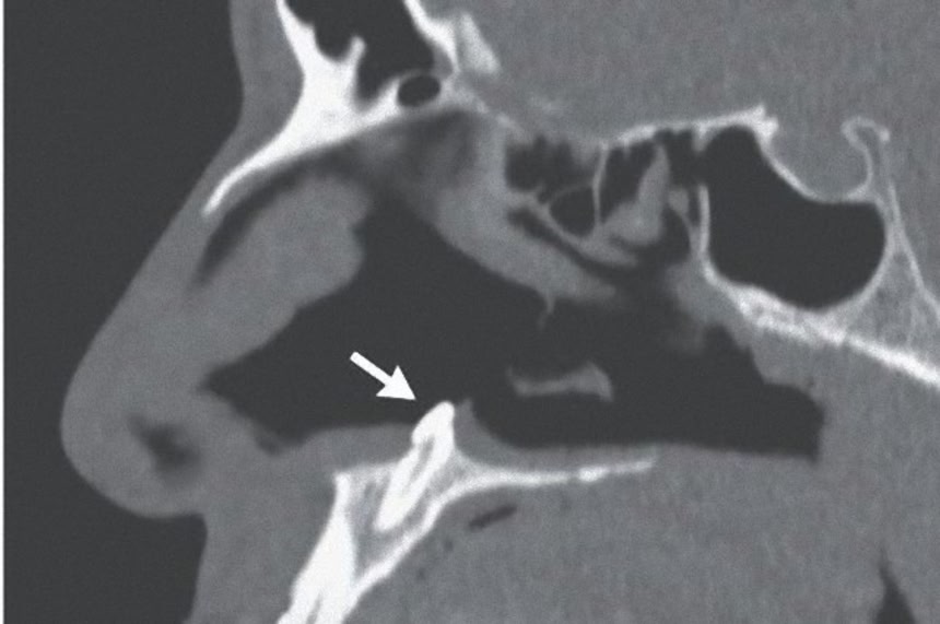
鼻の内部に生えた歯
ニューヨークのマウントサイナイ・ヘルスシステム(Mount Sinai Health System)で外科医を務めるマイケル・ターナー氏とサガル・カンナ氏が『New England Journal of Medicine』に症例報告したところによると、38歳の男性は「数年前から右の鼻の穴で呼吸がしづらい」として病院を訪れたという。
そこで医師らが確認したところ、鼻腔の間の仕切りが片側に押されている状態だったため、小型カメラで行った鼻鏡検査を行った。
その結果、右の鼻の孔の下側から白っぽい塊が出ていることが判明。実はこれ、成長した歯が生えていたのだ。
この画像を大きなサイズで見る突き出た歯の長さは約0.6cmほどに達しており、抜歯手術が行われた。取り除かれた歯は全長1.4cmあったそうだが、術後3ヶ月の経過観察では、両方の鼻の穴から普通に呼吸ができるようになったという。
本来生えてくる位置とは違った位置に歯が生えてくることはわりとあり、「異所萌出」と呼ばれているが、鼻の中から生えてくるケースは珍しい。
珍しいが皆無というわけではない。子供の場合、顔面に損傷を負った場合などに発生しやすいようだ。他にも様々場所に生えてくるケースがあり「ectopic teeth」で画像検索するといろいろすごいことになっている症例を見ることができる。
References:Ectopic Tooth in the Nose | NEJM / parumo
















歯性上顎洞炎で歯を抜いたのだが、歯の根が長過ぎて鼻の奥に穴が開いてるから、優しく鼻をかまないと抜歯跡に詰めた薬が鼻から出てくるので気を付けてねと言われた事があるので、あまり驚かない。
普通に引っ張ったらめちゃくちゃ痛そう
鼻じゃないけど上顎から歯が出てきたので抜いたよ。小さい歯だった。珍しいけど宝くじ当たるひどではない珍しさみたい。
※3
口腔内の下の上かな?
子供の頃、骨弱かったから牛乳よく飲んでたら、口の中の変なとこに歯生えてきた。
ほっといたらへっこんだ。
>>14
それ忘れた頃に鼻の中に生えてくんぞ!
は~!?
なんか怖くて画像検索出来ない・・・誰か感想頼む
※5
全部歯の写真だったよ。
>>5
インドかなんかの奇形で歯が百本以上生えてて抜歯したやつよりはぜんぜんマシ
鼻からうどんが食えるように進化中なんや
「ectopic teeth」で画像検索するなよ!絶対するなよ!
って言われてる気がして
子供の頭蓋骨に生えかわるための歯が埋まってる画像とか見ると、うわあああって思うのと同時にほじくりかえしたくなる。
米8
ふえるわかめの歯ってなんだ?と思った
耳鼻咽喉科でもなく歯科でもなく外科なのか
※9
口腔外科っていうのもありますよ
歯って思ったより上で発生してるんだよね
子供のレントゲンで見た事あるわ
口と鼻は近いから別に驚くようなことじゃないと思うが
毛髪嚢腫みたいだな
くだらないけど一応書いておこう
萌え~
上前歯が歯根嚢胞になって、鼻の中に膿…というか血がめっちゃ出た事はあったな
なまじ出口があって定期的に圧が無くなってたから単に鼻血が止まらないって認識でしか無かった
鼻血止まったら膿が貯まり出して、痛みで歯医者に駆け込んだ
異所萌出…字面だけみるとオタクの性癖ジャンルみたいなのに普通に怖い
その歯を口から抜いたのか鼻から抜いたのかでまた怖さが違うと思うの・・・
※18
レントゲン写真見る限り結構奥の方だし、手術するの大変だったろうね
※18
前頭葉あたりの脳外科手術の時は鼻の骨外して鼻からやったりするので位置的に鼻からやってそう。鼻の骨は割と治りやすいらしいし。
なお、生まれつき鼻の骨が曲がっている人は手術後に戻すときに真っすぐくっつけるので鼻詰まりが解消されたりする地味な特典がある。
普通に虫歯の跡地とかに生えてくれたらいいのにな
親不知にも程が有るわ
>>20
こりゃ親どころか自分も知らん歯だわ
ectopic teethで画像検索したけど、
大半の画像が日本人からするとちょっとキツめの八重歯程度というか、歯列矯正が高額だからこのくらいの歯並びの大人普通にいるよねって画像ばかりで何だか悲しくなった。
やっぱり保険適応外はおかしいと思うんだ。
歯「はっはっはーぁ。」
トライポフォビアなので絶対にectopic teethで画像検索しない!😤